
เป็นเรื่องที่ผู้ใช้ iPhone ส่วนใหญ่เจอกันเป็นประจำ กับสายชาร์จ iPhone ที่ไม่ค่อยทนทานและขาดง่าย ทำให้ต้องเปลี่ยนสายชาร์จบ่อย ๆ แต่ดูเหมือนว่า Apple กำลังหาวิธีที่ทำให้สายชาร์จ iPhone ทนทานมากกว่าเดิมแล้ว เมื่อมีการเผยสิทธิบัตร Apple ล่าสุด ว่าด้วยเรื่องของสายชาร์จที่มีความทนทานกว่าเดิมและไม่ขาดง่าย

โดยต้นตอของข้อมูลดังกล่าวมาจากเว็บไซต์ AppleInsider ที่ได้เผยรายละเอียดของสิทธิบัตร Apple ที่ยื่นจดในชื่อ ‘Cable with Variable Stiffness’ เมื่อวันที่ 4 กุมภาพันธ์ 2021 ที่ผ่านมา อธิบายถึงไอเดียที่ไม่ทำให้สายชาร์จขาดง่าย หลักการก็คือ เพิ่มความหนาของสายชาร์จด้วยวัสดุหลายชั้น
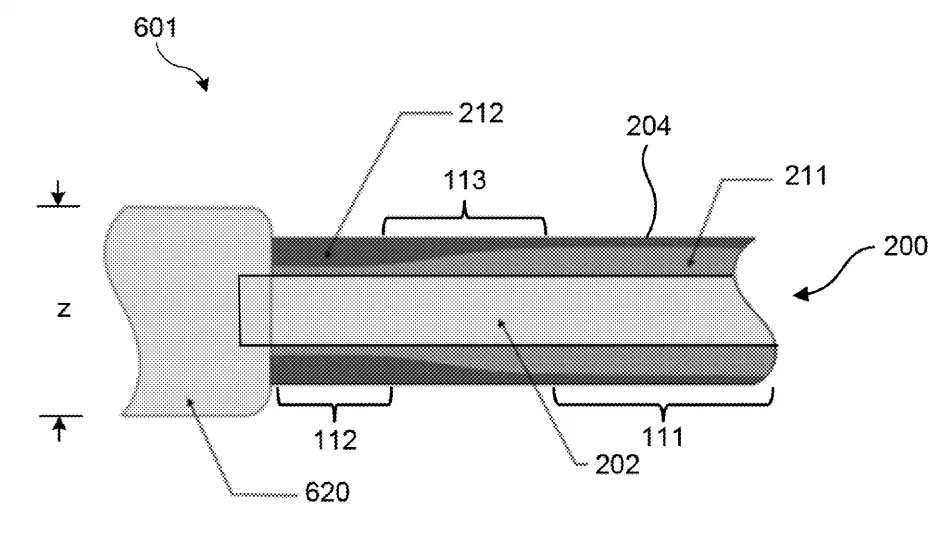
ซึ่งภาพจากสิทธิบัตร จะแบ่งออกเป็น 3 ชั้น เส้นแรกจะเป็นตัวสายเคเบิลที่มีความยืดหยุ่น เส้นที่สองเป็นสายเคเบิลเหมือนกัน แต่จะมีความแข็งแรงกว่าชั้นนอก และสุดท้ายคาดว่า น่าจะเป็นเส้นที่สำคัญที่สุด เพราะนอกจากจะมีความแข็งแรงแล้ว ยังสามารถโค้งงอได้หลายระดับ ซึ่งเส้นนี้จะอยู่ระหว่างเส้นที่ 1 กับเส้นที่ 2
แม้ว่าสายชาร์จแบบใหม่ที่เพิ่มความทนทาน จะถูกยื่นจดสิทธิบัตรไปแล้ว แต่ก็ไม่ได้หมายความว่า Apple จะนำนวัตกรรมทั้งหมดนี้มาผลิตเป็นสายชาร์จแบบใหม่ ซึ่งต้องติดตามกันต่อไป
-------------------------------------
ที่มา : theverge.com
เรียบเรียง : techmoblog.com
Update : 09/02/2021
หน้าหลัก (Main) |
(สินค้า IT) ออกใหม่ |
|
FOLLOW US |