
หลังจากที่ Apple ได้ติดตั้งเทคโนโลยีใหม่อย่าง Smart Connector ลงไปใน iPad Pro แล้ว เราก็ยังไม่ค่อยเห็นอุปกรณ์ที่จะออกมารองรับพอร์ตเชื่อมต่อนี้เท่าไรนักนอกจาก Smart Keyboard แต่จากรายงานล่าสุดแสดงให้เห็นอย่างชัดเจนว่า Smart Keyboard ยังเป็นแค่น้ำจิ้มเท่านั้น เมื่อ Apple จดสิทธิบัตร Smart Cover สุดล้ำ ที่จะเป็นหน้าจอที่สองแบบปรับแต่งได้ตามการใช้งาน แถมยังมีแผงโซลาร์เซลล์ไว้ชาร์จแบตเตอรี่ด้วย
ฟีเจอร์โดดเด่นอย่างแรกคือ สามารถควบคุมการเล่นวิดีโอผ่านตัว Smart Cover ได้เมื่อใช้เป็นสแตนด์ดังในภาพด้านล่าง โดยไม่ต้องจิ้มลงบนหน้าจอให้มีแผงควบคุมหรือปุ่มอะไรก็ตามขึ้นมาบดบัง แม้ว่าแผงควบคุม touch-sensitive นี้จะอยู่ด้านหลังและมองเห็นยาก แต่ Apple เชื่อว่าด้วยขนาดและตำแหน่งของมันที่พอเหมาะพอดีจะทำให้ผู้ใช้สามารถใช้งานอย่างชินมือได้ไม่ยาก

ควบคุมการเล่นวิดีโอขณะใช้เป็นสแตนด์
อีกหนึ่งจุดเด่นของ Smart Cover คือความสามารถในการแปลงร่างเป็นหน้าจออีกหน้าจอหนึ่งที่สามารถปรับแต่งได้ตามใจ ตั้งแต่ให้เป็นคีย์บอร์ดแบบ QWERTY ไปจนถึงกระดานวาดเขียน ซึ่ง Apple ตั้งใจให้ฟีเจอร์นี้เป็นไม้เด็ดที่จะทำให้ iPad Pro มีฟีลการใช้งานที่เหมือนกับคอมพิวเตอร์แล็ปท็อปได้นั่นเอง

ทัชสกรีนบนตัว cover ที่ปรับแต่งได้ และรองรับ Apple Pen
Smart Cover สามารถแสดงแจ้งเตือนและข้อความได้โดยที่ไม่ต้องหยิบมาเปิดดูหน้าจอ โดยใช้เทคโนโลยี AMOLED ทำให้ตัว cover ไม่กินแบตฯ จนเกินไป และยังมีส่วนที่เป็นจอ e-ink แยกต่างหาก ทำให้ผู้ใช้สามารถจดโน้ตสั้นๆ ลงไปได้อีกด้วย

ปก cover ที่แสดงแจ้งเตือน และสามารถจดโน้ตลงไปได้
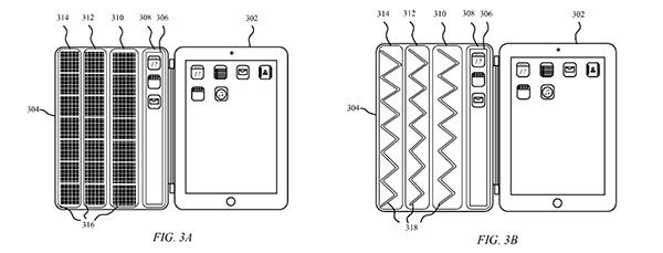
นอกจากนี้ยังมีฟีเจอร์เด็ดๆ อีกมากมาย หนึ่งในนั้นคือแผงโซลาร์เซลล์บน cover ที่สามาร์ทชาร์จ iPad ได้ทันทีเพียงรับแสงอาทิตย์

แผงโซล่าร์เซลล์ใน cover
อย่างไรก็ตามแม้ Apple จะได้ครอบครองสิทธิบัตร Smart Cover อย่างเป็นทางการแล้ว แต่ก็ยังไม่อาจฟันธงได้ว่า Apple จะนำฟีเจอร์ใดมาใส่ใน Smart Cover รุ่นใหม่ๆ บ้างเมื่อผลิตออกมาจริง ซึ่งต้องคอยติดตามข่าวสารจาก Apple กันต่อไป
---------------------------------------
ที่มา : macrumors.com
แปลและเรียบเรียง : techmoblog.com
Update : 13/05/2016
หน้าหลัก (Main) |
(สินค้า IT) ออกใหม่ |
|
FOLLOW US |