
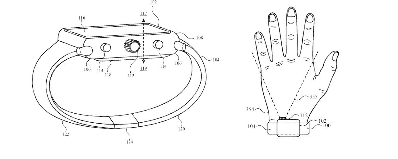
รายงานล่าสุดจากเว็บไซต์ AppleInsider ที่ได้มีการพบสิทธิบัตรใหม่จาก Apple เกี่ยวกับ Apple Watch รุ่นอนาคต ที่จะมีการติดตั้งกล้องไว้ที่ Digital Crown หรือเม็ดมะยม ทำให้สามารถถ่ายรูปได้เลยทันทีจากข้อมือ

โดยสิทธิบัตรฉบับดังกล่าว ไม่ได้เผยว่า ตัวกล้องมีความละเอียดอยู่ที่เท่าใด แต่พูดถึงกลไกในการถ่ายรูปด้วยเม็ดมะยม ซึ่งสามารถโฟกัสภาพได้ด้วยการหมุน ส่วนการกดถ่ายจะเป็นการใช้ท่าทางหรือกดด้วยคำสั่งมือ อีกทั้งยังสามารถถอดตัวเรือนออกจากสาย เพื่อใช้เป็นกล้องจิ๋วพกพาก็ได้เช่นกัน
ทั้งนี้ นักวิเคราะห์ต่างมองว่า การนำสิทธิบัตรฉบับนี้ไปใช้งานจริง อาจจะเป็นเรื่องที่ทำได้ยาก เพราะติดปัญหาเรื่องสิทธิส่วนบุคคล ที่ Apple ให้ความสำคัญ เสี่ยงต่อการนำไปใช้ผิดวัตถุประสงค์ เพราะอาจมีคนนำไปแอบถ่ายคนอื่นโดยไม่ได้รับอนุญาต
โดยครั้งนี้ไม่ใช่ครั้งแรกที่มีข่าวเกี่ยวกับ Apple Watch ติดกล้อง เพราะเมื่อปี 2019 เคยมีสิทธิบัตร Apple Watch ติดกล้องไว้ที่สายรัดข้อมือเช่นกัน
-------------------------------------
ที่มา : appleinsider.com
นำเสนอบทความโดย : techmoblog.com
Update : 02/06/2022
หน้าหลัก (Main) |
(สินค้า IT) ออกใหม่ |
|
FOLLOW US |