
ข้อมูลจาก Patently Apple ระบุว่า Apple จดสิทธิบัตร Apple Pencil รุ่นถัดไป ที่สามารถตรวจจับและเก็บตัวอย่างสีจากวัตถุจริง ๆ ไปใช้บน iPad ได้


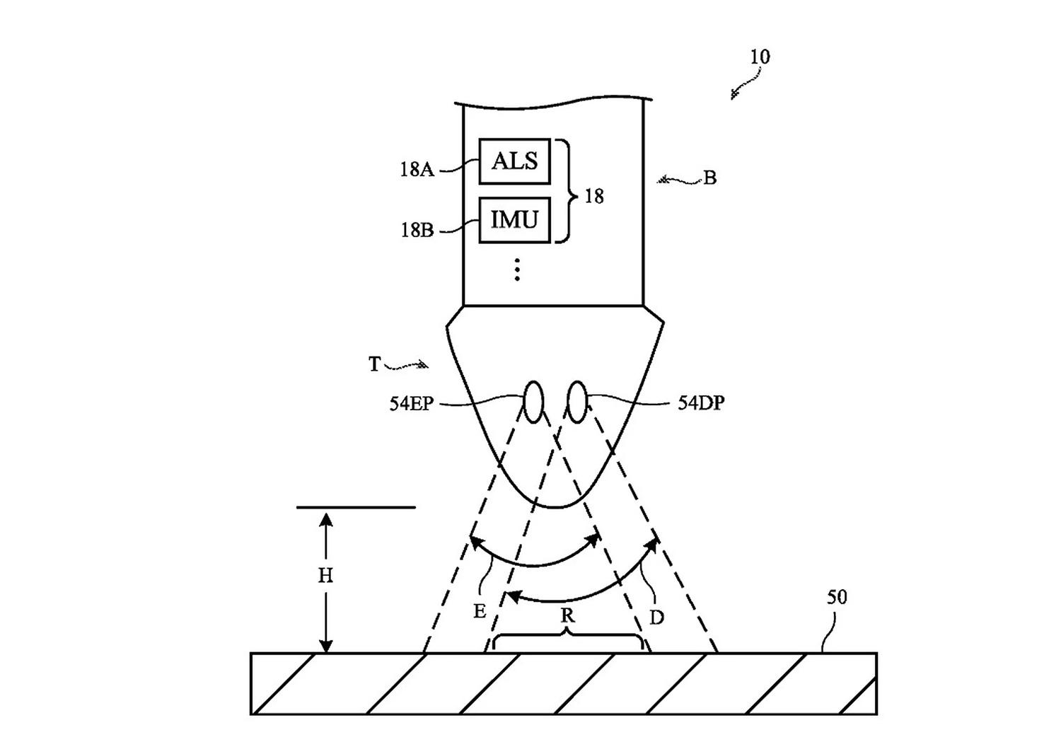
โดยข้อมูลจากสิทธิบัตร เผยว่า ปลายปากกาของ Apple Pencil จะมีการติดตั้งเซ็นเซอร์ต่าง ๆ ไม่ว่าจะเป็น Light Ambient Sensor, Light Emitter และเซ็นเซอร์ตรวจจับแสง ซึ่งจะสามารถตรวจจับมุมของแสงที่ตกกระทบกับวัตถุ และเก็บข้อมูลการสะท้อนแสงของวัตถุ ทำให้สามารถเก็บตัวอย่างสีจากวัตถุจริงได้อย่างแม่นยำ และข้อมูลที่เก็บมานี้ จะถูกส่งไปยัง iPad แบบไร้สาย
สำหรับ Apple Pencil รุ่นปัจจุบัน เป็น Apple Pencil เจเนอเรชันที่ 2 ซึ่งเปิดตัวมาตั้งแต่ปี 2018 และยังไม่มีข้อมูลว่า Apple Pencil Gen 3 จะเปิดตัวเมื่อใด
อย่างไรก็ดี แนวคิดปากกาที่สามารถเก็บตัวอย่างสีจากวัตถุ ไม่ถือว่าเป็นเรื่องใหม่แต่อย่างใด เพราะเมื่อปี 2014 ได้มีการเปิดตัวปากกา Scribble ที่สามารถเก็บตัวอย่างสีจากวัตถุจริงได้มาแล้ว
-------------------------------------
ที่มา : macrumors.com
นำเสนอบทความโดย : techmoblog.com
Update : 26/01/2023
หน้าหลัก (Main) |
(สินค้า IT) ออกใหม่ |
|
FOLLOW US |