
นอกจาก Samsung จะเป็นแบรนด์แรกที่เปิดตัว Samsung Galaxy Beam ที่มาพร้อมกับโปรเจ็คเตอร์ในตัว ล่าสุด ดูเหมือนว่า Samsung จะนำเทคโนโลยีดังกล่าวมาใช้กับสมาร์ทวอชด้วยเช่นกัน เมื่อมีรายงานสิทธิบัตรซัมซุงฉบับใหม่ กล่าวถึง Galaxy Watch ที่มีโปรเจ็คเตอร์ในตัว สามารถฉายหน้าจอบนสมาร์ทวอชไปยังหลังมือได้



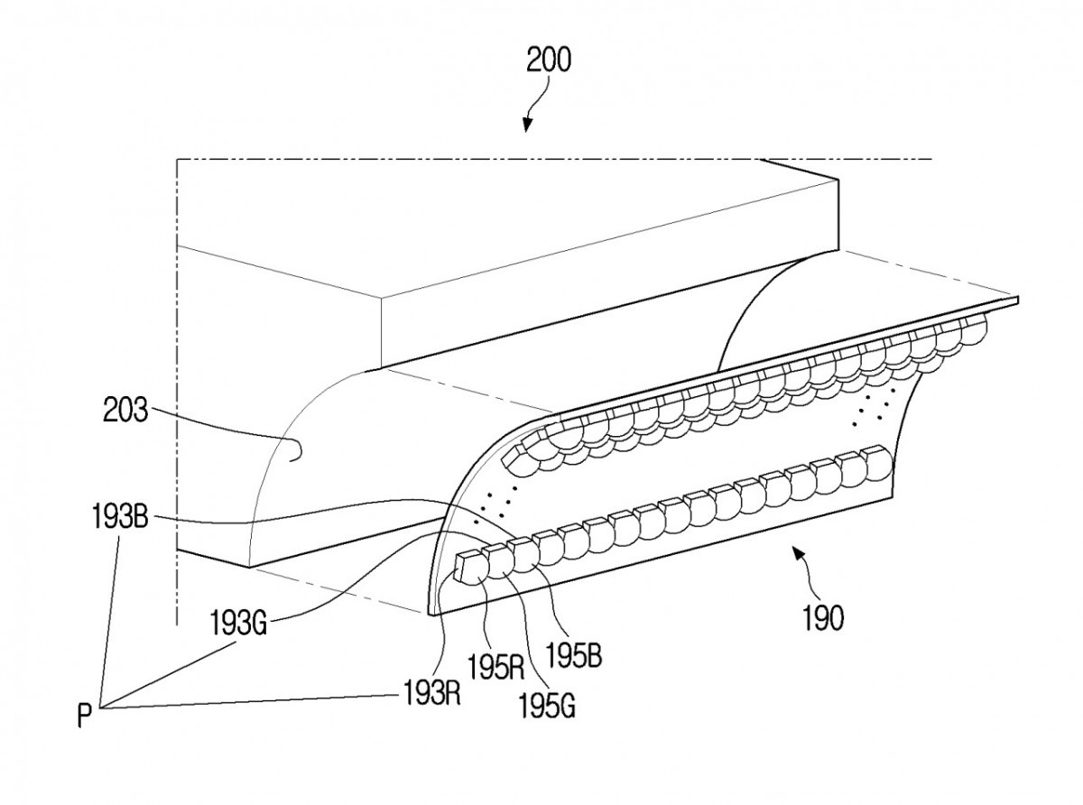
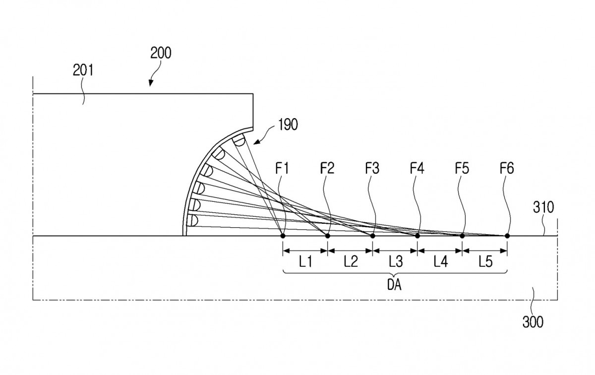
โดยรายละเอียดในสิทธิบัตร ระบุว่า โปรเจ็คเตอร์จะสามารถสะท้อนหน้าจอหลัก และฉายภาพรวมถึงวิดีโอไปยังหลังมือของผู้ใช้
นอกจากนี้ เลนส์ในโปรเจ็คเตอร์จะมีการติดตั้งหลายมุม ทำให้ภาพที่ฉายออกมาไม่บิดเบี้ยวไม่ว่าเราจะขยับมือไปยังทิศทางไหน
ทั้งนี้ ยังไม่ยืนยันว่า ทาง Samsung จะมีการพัฒนาสมาร์ทวอชที่ติดตั้งโปรเจ็คเตอร์ตามสิทธิบัตรนี้หรือไม่
-------------------------------------
ที่มา : gsmarena.com
นำเสนอบทความโดย : techmoblog.com
Update : 17/02/2023
หน้าหลัก (Main) |
(สินค้า IT) ออกใหม่ |
|
FOLLOW US |